- április 9-én az amerikai szabadalmi hivatal (USPTO) közzétett egy Tesla, Inc. beadványt, amelyben egyetlen árva neurális háló, világmodell vagy mesterséges intelligenciára utaló kifejezés sem szerepelt. Ehelyett az US20260097493A1 számú szabadalom kínos precizitással ír le valamit, amit mindannyian jól ismerünk: egy térdet. A még a 2022-es Tesla AI Day napján benyújtott dokumentum az Optimus humanoid biomechanikai titkait fedi fel. Alig néhány nappal a publikálás előtt Elon Musk az X-en már elhintette, hogy az „Optimus 3 már járkál, de még szükség van néhány utolsó simításra”. Nos, szinte biztos, hogy pontosan ezen a térden teszi meg azokat a bizonyos lépéseket.
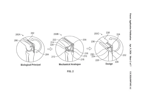
A szabadalom legárulkodóbb ábrája nem egy túlbonyolított CAD-rajz, hanem egy egyszerű, hárompaneles fejlődéstörténet. A „Biológiai alapelv” feliratú vázlattól indul, egy pálcikaember-szerű „Mechanikai analógián” át jut el a végleges „Dizájnig”. A dokumentum feketén-fehéren megfelelteti a négyfejű combizmot, a térdkalácsot és a szalagokat egy négylengőkaros mechanizmusnak (four-bar linkage). Ez nem csupán egy robotalkatrész; ez az evolúció több millió éves munkájának közvetlen mérnöki átirata. A konstrukció emberi szintű, 150 fokos mozgástartományt tesz lehetővé egyetlen apró, lineáris aktuátor segítségével.

A mechanizmus – az inverz Hoecken-féle kapcsolás egy módosított változata – elegáns válasz egy rendkívül összetett problémára. Az emberi térd azért annyira hatékony, mert nem egy fix pont körül forog; az erőkar hossza a hajlítás mértékével együtt változik, így ott maximalizálja a nyomatékot, ahol a leginkább szükség van rá. A Tesla rendszere ezt a változó mechanikai előnyt reprodukálja, lehetővé téve, hogy egy viszonylag kis motor is brutális erejű és széles tartományú mozgást produkáljon. A szabadalomból az is kiderül, hogy komoly szimulációkkal lőtték be az optimális karhosszokat, hogy a fogyasztást a minimumon tartsák, miközben hozzák a kért nyomaték- és sebességi célokat.
Miért akkora szám ez?
Ez a térd a kulcs ahhoz, hogy az Optimus ne csak egy laboratóriumi érdekesség, hanem megfizethető termék legyen. Azáltal, hogy egyetlen apró aktuátort használnak a komplexebb és energiaéhesebb megoldások helyett, a Tesla drasztikusan faragja le a lábak költségét, súlyát és bonyolultságát. Ez kritikus fontosságú Musk ambiciózus, 20 000–30 000 dolláros célárának eléréséhez. Ez a fajta spórolás elengedhetetlen a Fremont-i gyárba tervezett évi egymillió darabos gyártási volumenhez – ott, ahol már el is kezdték felszabadítani a helyet a Model S és X gyártásának leállításával.
Bár a dizájn kétségkívül zseniális, a mögöttes geometria nem marad kizárólag a Tesla kiváltsága. Elemzők már kiszúrták, hogy az Xpeng következő generációs IRON humanoidja kísértetiesen hasonló mechanizmust használ. Mivel a Tesla tervei a 2022-es AI Day óta lényegében nyilvánosak, úgy tűnik, az iparág elkezdett konvergálni a leghatékonyabb megoldások felé. Az evolúciónak évmilliói voltak a geometria tökéletesítésére – a Teslának ugyanezt szűkös büdzséből és rekordidő alatt kell hoznia.

